Deze bijzondere patenten van Apple zijn werkelijkheid geworden
Apple heeft zo ongeveer patent op het aanvragen van patenten. Meestal lijken deze zó uit een sciencefictionfilm afkomstig. En of ze ooit echt het productiestadium gaan bereiken, is nog maar de vraag. In de loop der tijd zijn er echter ook veel Apple-patenten wél werkelijkheid geworden. Hoe dan ook hebben ze allemaal een grote gemene deler: ze leken ten tijde van hun registratie vaak te zijn ontsproten aan het brein van een (prettig) gestoorde professor. Wij nemen je mee langs de meest iconische Apple-patenten uit de voorbije decennia.
Personal computer (1983)

Laten we beginnen bij het begin. Apple-oprichter Steve Jobs heeft honderden patenten op zijn naam staan, en eentje daarvan moet de eerste zijn. Dit allereerste patent is bijna veertig jaar oud en heette simpelweg ‘personal computer’. Je herkent hierin duidelijk het ontwerp van de eerste Apple-computers. En hoewel deze eerste thuiscomputers geen onverdeeld succes waren, wist Apple zich er wel mee in de kijker te spelen. Misschien dus wel het belangrijkste patent!
Computerbehuizing (1998) met een cursorbesturingstoestel (1999)

Een computerbehuizing was aan het einde van de vorige eeuw nog niet echt iets om over naar huis te schrijven. Het waren veelal fantasieloze grijze bakken waarin veel kabeltjes geprikt waren. In die context was dit patent voor een computerbehuizing revolutionair: een computer met ronde vormen en een ingebouwd scherm – helemaal klaar om het internet op te gaan.
Dat zag er bijzonder futuristisch uit. En dan geeft het patent nog niet eens prijs dat deze iMac in een regenboog aan kleuren zou verschijnen, met een bijpassende ‘cursor control device’ – de beruchte ronde iMac-muis.
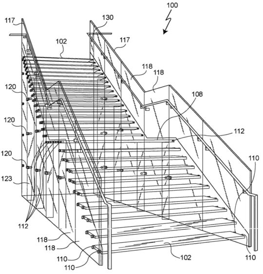
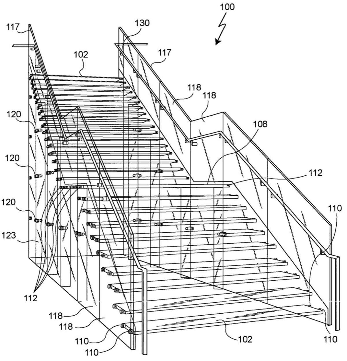
Glazen trap (2003)

Ben je weleens in een Apple Store geweest, dan weet je dat die ook net zo strak ontworpen is als de meeste Apple-producten. Een kenmerkend element dat bij meerdere Apple Stores te zien is, is de glazen trap. In de Amsterdamse Store heb je er bijvoorbeeld een als wenteltrap. Heel iconisch. En je raadt het al: die glazen trap behoort tot de patenten van Apple. Sterker nog: het volledige exterieur van bepaalde Apple-gebouwen is gepatenteerd. Bijvoorbeeld de store in New York – een glazen kubus.
Multi-touch aanraakscherm (2009)

‘Nobody wants a stylus … We’re gonna touch this with our fingers. And we have invented a new technology called multi-touch, which is phenomenal. It works like magic … and boy, have we patented it.’ Zo besloot Steve Jobs zijn verhaal over het aanraakscherm van de eerste iPhone in 2007. Andere populaire merken van destijds hadden een fysiek toetsenbord, dus het schermtoetsenbord was revolutionair, evenals de goed doordachte veeggebaren. En dat terwijl die gebaren vaak zo intuïtief zijn, dat een kind ze begrijpt.
Stiekem toch een stylus (2017)

Jobs was er dus tijdens de presentatie van het multitouch aanraakscherm van de iPhone bijzonder helder over: niemand wil een stylus. En later, ook toen de iPad er al was, herhaalde hij die boodschap nog maar eens: ‘If you see a stylus, they blew it’. Past keurig bij een uitspraak van Bill Gates: ‘640K moet genoeg zijn voor iedereen’. Uitspraken die verouderd zijn als melk. Wij zijn heel blij met onze Apple Pencil. Sorry Steve!
Verpakking (2009)

Scharen die je moet losknippen uit hun verpakking. Kindveilige doppen die ook voor volwassenen een onneembare vesting zijn. Zulke ergernissen kom je bij Apple niet tegen. Wat een verademing is het als je een nieuwe iPhone of iPad met een zacht plofje bevrijdt uit de doos! Het is alsof iemand bij Apple zowaar heeft nagedacht over de verpakkingen. Je raadt het al: ze hebben er zelfs patent op. Vier dagen voor het verschijnen van de eerste iPhone, werd bijvoorbeeld dit patent aangevraagd.
Klikwiel (2008)

Het wiel opnieuw uitvinden – Apple doet het regelmatig. In het geval van het patent ‘methode en apparaat voor het gebruik van roterende gebruikersinvoer’ zelfs letterlijk, want het gaat hier om een klikwiel. Dat roept natuurlijk herinneringen op aan weer een van die iconische Apple-apparaten: de iPod. Met het klikwiel navigeerde je gemakkelijk door je muziekcollectie, en er waren zelfs klikwiel-games. Apple bedacht ook nog een iPhone waarbij je met zo’n klikwiel ouderwets een nummer kon draaien, maar die zag nooit het levenslicht.
Het Dock (2008)

Het is zo’n kenmerkend onderdeel van het macOS-besturingssysteem dat je je niet kunt voorstellen dat het er ooit niet was, en nog door iemand uitgevonden moest worden: het Dock, onderaan in het scherm. Met het Dock heb je razendsnel toegang tot je favoriete apps en belangrijkste documenten. In het patent formuleerde Apple dat als volgt: ‘een gebruikersbalk die een veelvoud van item-representaties bevat, voor snelle toegang’.
5 patenten waar Apple nog niks mee gedaan heeft
Apple kleurpotlood
Apple onderzoekt een mogelijkheid waarbij de Apple Pencil kleuren kopieert uit de omgeving. Perfect voor als je bijvoorbeeld iets tot in detail wilt natekenen.
Kruimel-afwerend toetsenbord
Oftewel: het tegenovergestelde van Apple’s vlindertoetsenbord. Met een membraan dat moet voorkomen dat er kruimels onder de toetsen belanden.
Zelfsluitend Apple Watch-bandje
Net zo handig als de zelfstrikkende gympen uit de Back to the Future-films: een bandje dat op basis van biometrische data zichzelf perfect afstelt.
E-ink toetsenbord
Met een e-ink toetsenbord pas je de fysieke toetsen aan. Handig als je in een andere taal typt, veel sneltoetsen gebruikt of uitsluitend in emoji’s communiceert.
Zelfrijdende auto zonder ramen
Op de plek van de ramen zitten displays. Zo verander je ons eentonige polderlandschap in iets anders, zodat je altijd op vakantie lijkt te zijn.


Praat mee
0